Encontrado en una electrónica Ahora desde los años 90, esta aplicación utiliza un circuito integrado de los tiempos difíciles de encontrar hoy en día.

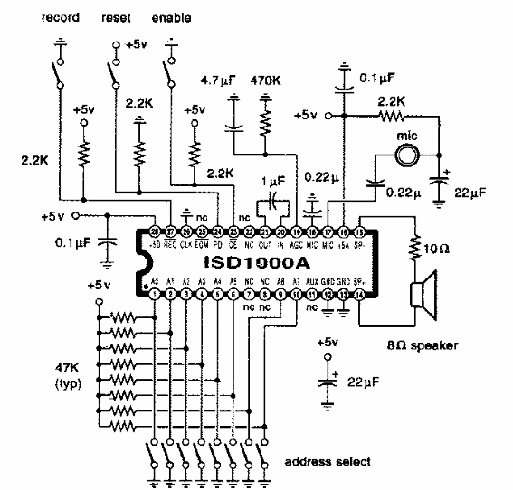
Circuito de grabación y reproducción con ISD1000A
Encontrado en una electrónica Ahora desde los años 90, esta aplicación utiliza un circuito integrado de los tiempos difíciles de encontrar hoy en día.
