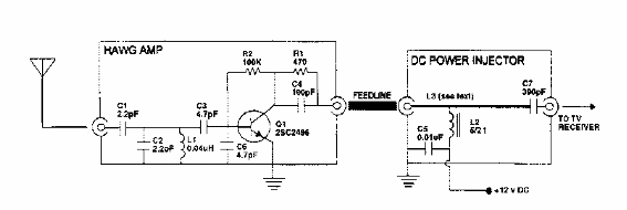
Este amplificador de señal para ATV en la banda de 427 a 439 MHz fue encontrado en una revista 73 para radioaficionados de los 90. El circuito está instalado al lado de la antena en el mástil.

Amplificador de 427 a 439 MHz
Este amplificador de señal para ATV en la banda de 427 a 439 MHz fue encontrado en una revista 73 para radioaficionados de los 90. El circuito está instalado al lado de la antena en el mástil.
