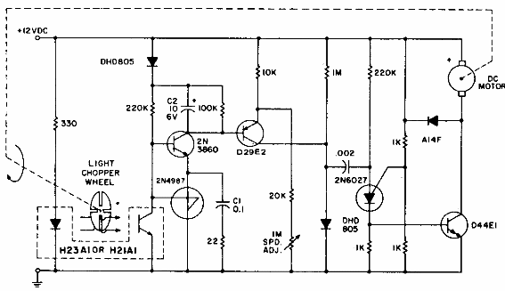
Encontramos este circuito en una publicación de General Electric de la década de 1980. Los transistores y el PUT son de esa época. El control se realiza mediante un tacómetro con un acoplador óptico.

Control con retroalimentación por tacómetro
Encontramos este circuito en una publicación de General Electric de la década de 1980. Los transistores y el PUT son de esa época. El control se realiza mediante un tacómetro con un acoplador óptico.
