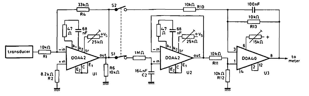
Este circuito es de la documentación de Philips 1960. El circuito se puede aplicar a amplificadores operacionales modernos. La fuente debe ser simétrica.
A falta de un circuito para amplificar las señales de un termopar en un control de temperatura u otra...
El circuito que presentamos hace que un relé cierre sus contactos cuando el sensor, un LDR común es...
Este sensible relé de luz puede ser accionado a una buena distancia por una linterna, funcionando...