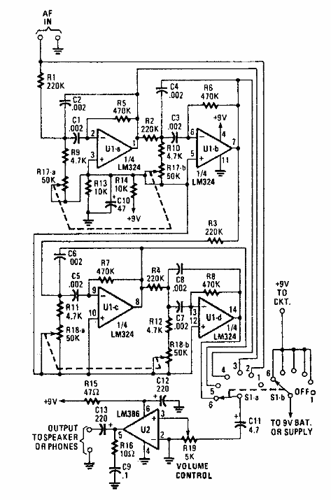
Este circuito para bajas frecuencias (graves) se encontró en una Popular Electronics de los años 90. El circuito se puede ajustar para rangos de 500 a 1500 Hz. Las aplicaciones incluyen filtros de recepción.

Amplificador con filtro sintonizable
Este circuito para bajas frecuencias (graves) se encontró en una Popular Electronics de los años 90. El circuito se puede ajustar para rangos de 500 a 1500 Hz. Las aplicaciones incluyen filtros de recepción.
