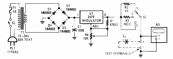
Este circuito tiene como objetivo recuperar capacitores electrolíticos mediante la aplicación de tensiones más altas de lo normal durante un tiempo determinado. Lo encontramos en una Popular Electronics de los años 80. La corriente del transformador es 1 A.

Recuperador electrolítico



