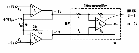
Este amplificador en modo común se obtuvo en una Electronic Design de los años 90. El circuito es válido para cualquier operacional, recordando que la fuente de alimentación debe ser simétrica.

Amplificador de instrumentación
Este amplificador en modo común se obtuvo en una Electronic Design de los años 90. El circuito es válido para cualquier operacional, recordando que la fuente de alimentación debe ser simétrica.
