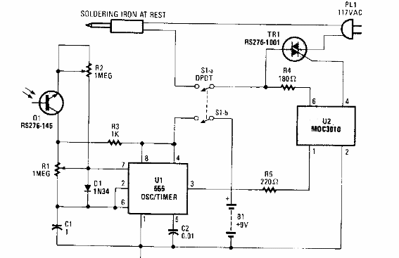
Este circuito se encontró en una Popular Electronics de los años 80. El circuito utiliza un fototransistor sensible al infrarrojo para controlar el calor desde la punta de un soldador. El desencadenante del triac es un fotodiaco.

Estación de soldadura controlada por infrarrojos



