I
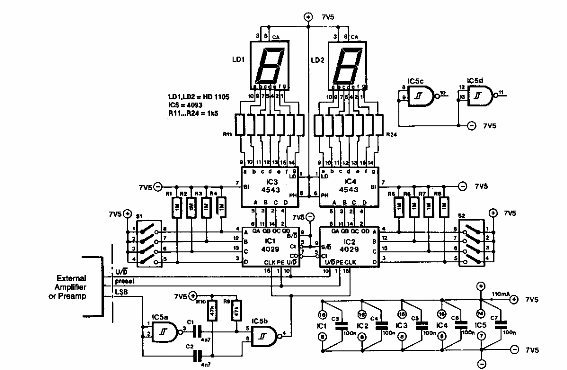
Encontrado en una Elektor antigua, este circuito usa dos displays de 7 segmentos para indicar el volumen de un amplificador. El circuito usa componentes que todavía son comunes hoy en día.

Indicador de volumen digital
I
Encontrado en una Elektor antigua, este circuito usa dos displays de 7 segmentos para indicar el volumen de un amplificador. El circuito usa componentes que todavía son comunes hoy en día.
