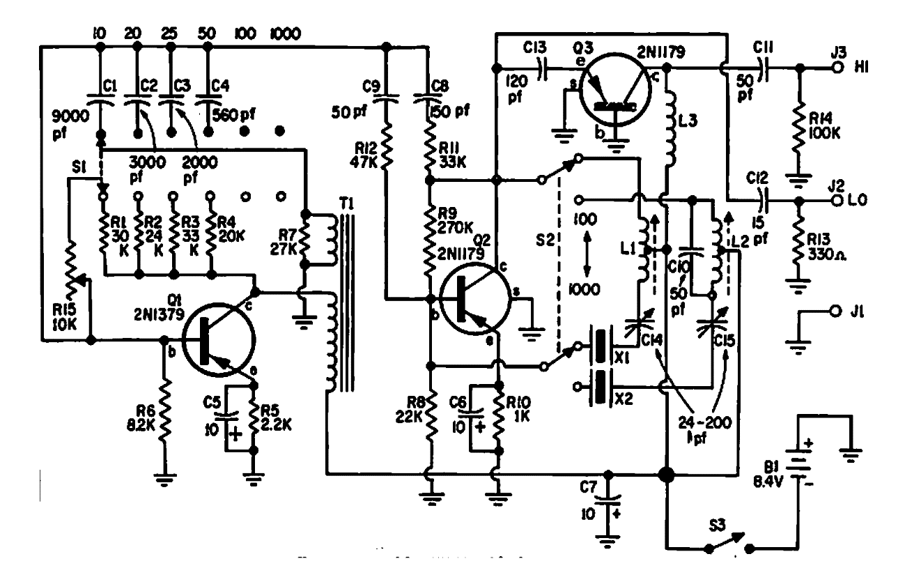
Este circuito para varias frecuencias se obtuvo en una documentación estadounidense de los años 90. Las frecuencias varían de 10 a 1 000 kHz en varias bandas seleccionadas por un interruptor. Los cristales son de 100 kHz y 1 MHz.

 

Calibrador de cristal
Calibrador de cristal | Haga click en la imagen para ampliar |