Este circuito se obtuvo de la documentación de Linear Technology de los años 90. El circuito utiliza componentes de ese momento y tiene ganancias entre 1 y 10. La banda de paso alcanza los 4 MHz.

DC estabilizador amplificador
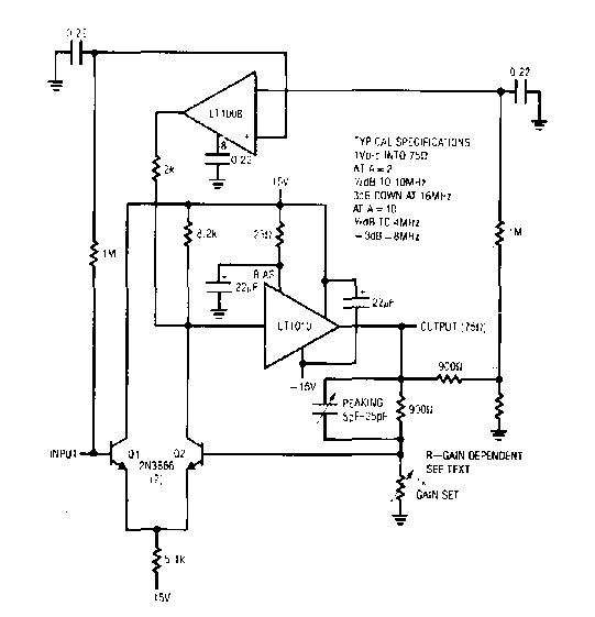
Este circuito se obtuvo de la documentación de Linear Technology de los años 90. El circuito utiliza componentes de ese momento y tiene ganancias entre 1 y 10. La banda de paso alcanza los 4 MHz.
