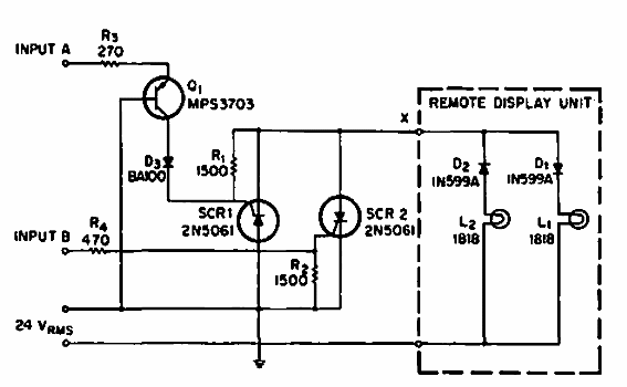
Encontrado en una documentación de 1969, este circuito muestra cómo utiliza SCR y transistores para controlar selectivamente dos lámparas remotas. Tenemos circuitos equivalentes en esta sección usando corriente alterna y diodos.

Controlador remoto de lámpara



