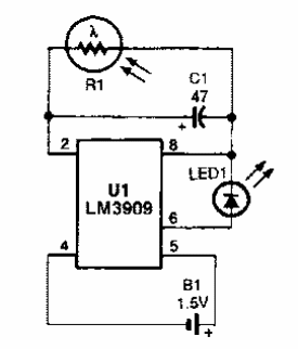
Este circuito alimentado por una sola celda de ultra baja potencia se encontró en una Popular Electronics de la década de 1990. El circuito se puede usar en sistemas de alarma.

Luz intermitente acionada por luz
Este circuito alimentado por una sola celda de ultra baja potencia se encontró en una Popular Electronics de la década de 1990. El circuito se puede usar en sistemas de alarma.
