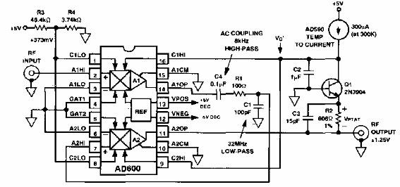
Este circuito hace uso de un componente de dispositivos analógicos inusual hoy en día. El circuito es de una documentación de los años 90. El amplificador tiene una ganancia de 80 dB.

Sistema de 3 MHz con AGC
Este circuito hace uso de un componente de dispositivos analógicos inusual hoy en día. El circuito es de una documentación de los años 90. El amplificador tiene una ganancia de 80 dB.
