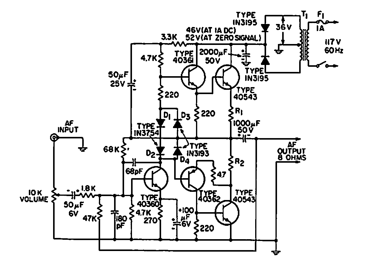
Este circuito RCA tiene limitación de corriente. El circuito es de una antigua documentación estadounidense que hace uso de componentes de la época. El circuito incluye la fuente de alimentación.

 

Amplificador de 25 W
Amplificador de 25 W | Haga click en la imagen para ampliar |