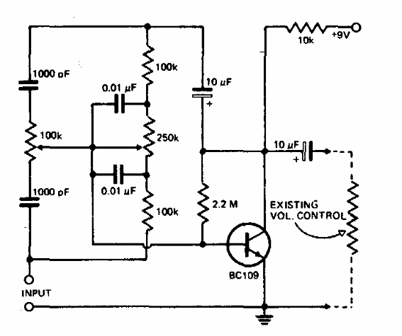
Este control de graves, medios y agudos puede usar un BC549 en lugar del transistor original. El circuito tiene bajo consumo y puede ser alimentado por el amplificador con el que opera.

Control de tono activo
Este control de graves, medios y agudos puede usar un BC549 en lugar del transistor original. El circuito tiene bajo consumo y puede ser alimentado por el amplificador con el que opera.
