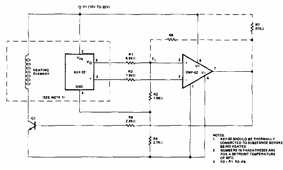
Encontramos este circuito en la documentación de los años 80 estadounidense. Utiliza un sensor IC que está montado con acoplamiento térmico con la carga (un elemento calefactor). El circuito integrado admite equivalente y Q1 debe estar de acuerdo con la carga controlada.

Controlador de temperatura



