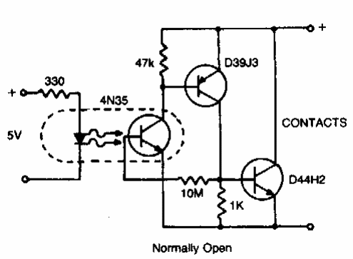
Este relé de estado sólido aislado puede funcionar como un shield que controla directamente las cargas de 10 A. El transistor es de los años 80, año de la publicación del circuito, pero puede implementarse con equivalentes modernos.

10 A NA Relé Shield



