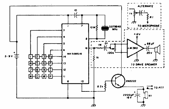
Este circuito es de una documentación antigua que utiliza un cristal de televisión en color analógico de 3,579,645 MHz. El amplificador de audio admite el equivalente.

Generador de tonos de marcación
Este circuito es de una documentación antigua que utiliza un cristal de televisión en color analógico de 3,579,645 MHz. El amplificador de audio admite el equivalente.
