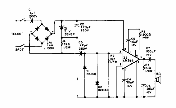
Este circuito se encontró en una documentación de la década de 1980, pero puede ensamblarse fácilmente incluso hoy por los componentes que utiliza. El circuito reproduce lo que se dice en una conversación telefónica que funciona como una extensión.

Monitor de línea telefónica



