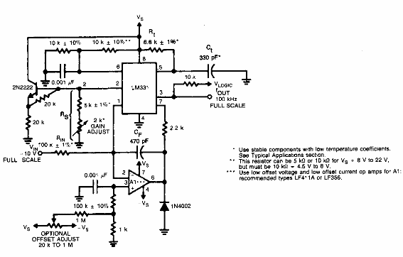
Sugerido por la documentación de National Semiconductor en la década de 1980, este circuito utiliza componentes de la época. El circuito tiene las características dadas al lado del diagrama y puede ser alimentado por tensiones de 8 a 22 V.

Convertidor de tensión a frecuencia de precisión



