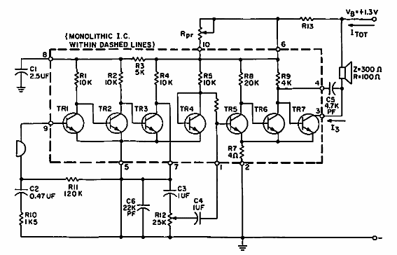
Este circuito es de una documentación de 1968 que utiliza uno de los primeros circuitos integrados disponibles en ese momento, el TAA370. El circuito está alimentado por 1.3 V utilizando un teléfono de 200 ohms.

Amplificador de audífono
Este circuito es de una documentación de 1968 que utiliza uno de los primeros circuitos integrados disponibles en ese momento, el TAA370. El circuito está alimentado por 1.3 V utilizando un teléfono de 200 ohms.
