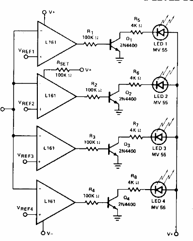
Este circuito se encontró en la documentación de Siliconix de la década de 1980. Se pueden usar comparadores comunes u operacionales. Los transistores son de propósito general.

Detector de nivel de tensión
Este circuito se encontró en la documentación de Siliconix de la década de 1980. Se pueden usar comparadores comunes u operacionales. Los transistores son de propósito general.
