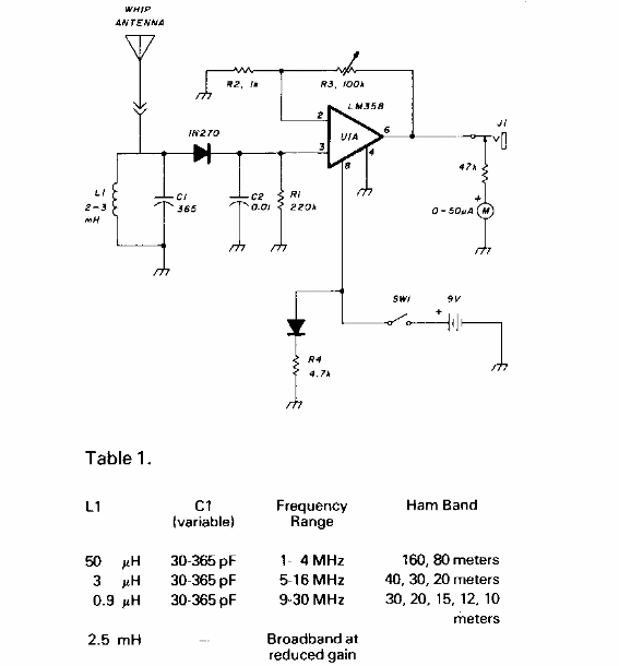
Este circuito de tres longitudes de onda se encontró en un Ham Radio de los 80. Se puede reemplazar por un equivalente moderno y la fuente de alimentación es una batería de 9 V.

Medidor de intensidad de campo
Este circuito de tres longitudes de onda se encontró en un Ham Radio de los 80. Se puede reemplazar por un equivalente moderno y la fuente de alimentación es una batería de 9 V.
