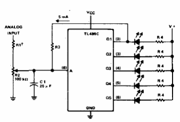
Este circuito se basa en un componente de Texas poco común hoy en día, como se encuentra en una documentación estadounidense de los años 80. Los resistores en serie con LED deben calcularse para una corriente máxima de 40 mA por salida.

Indicador de nivel de tensión



