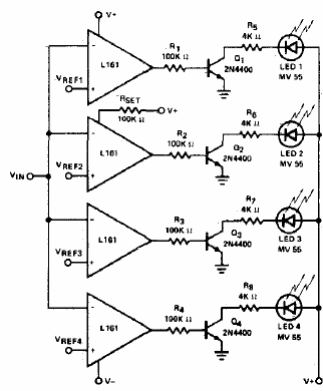
Encontramos este circuito en una documentación estadounidense de la década de 1980. Se pueden usar otros comparadores y los transistores dependen de la carga accionada. Para los LED se puede usar el BC548.

Indicador de nivel de tensión
Encontramos este circuito en una documentación estadounidense de la década de 1980. Se pueden usar otros comparadores y los transistores dependen de la carga accionada. Para los LED se puede usar el BC548.
