El transductor utilizado en esta configuración que aparece en otra parte de este sitio es una cerámica piezoeléctrica. Incluso un capacitor de cerámica se puede utilizar como transductor. Haz pruebas.

Medidor de vibraciones
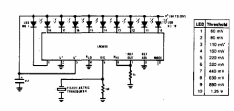
El transductor utilizado en esta configuración que aparece en otra parte de este sitio es una cerámica piezoeléctrica. Incluso un capacitor de cerámica se puede utilizar como transductor. Haz pruebas.
