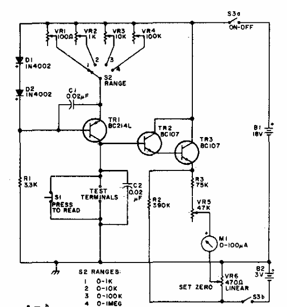
Se pueden encontrar circuitos similares a este en este sitio. Esto es de una documentación estadounidense de la década de 1980. Los transistores pueden ser el BC548 y el instrumento puede ser reemplazado por un multímetro en el rango de corriente más bajo. El circuito consta de una fuente de corriente constante.

Ohmímetro de escala lineal



