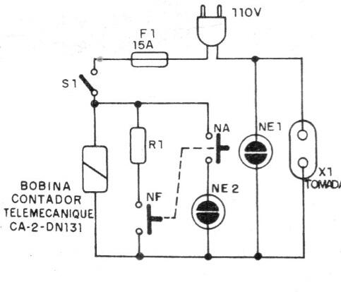
Este circuito utiliza un contator que se encontró en una publicación de 1987. Se pueden utilizar dispositivos equivalentes más modernos. El circuito tiene lámparas indicadoras de neón.

Protección contra cortocircuitos para banco de trabajo
Este circuito utiliza un contator que se encontró en una publicación de 1987. Se pueden utilizar dispositivos equivalentes más modernos. El circuito tiene lámparas indicadoras de neón.
