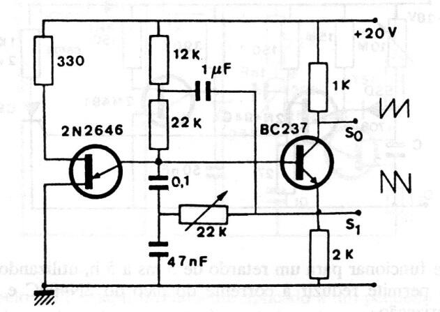
Encontramos este circuito con transistor unijuntura en una publicación antigua de los años 80. El circuito tiene una alta linealidad y el valor de C1 determina la frecuencia. El transistor bipolar admite equivalentes y la tensión de alimentación puede variar entre 12 y 20 V, según la aplicación.

Generador de rampa lineal



