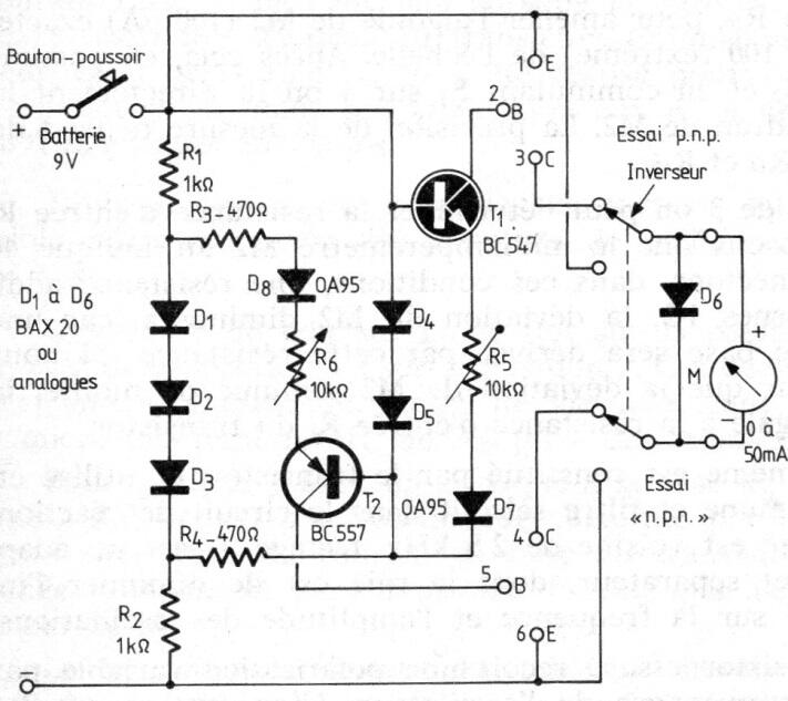
Este circuito de prueba de transistor tiene la ventaja de usar una fuente de corriente constante en las pruebas. La corriente constante es generada por un circuito que hace que la prueba esté en mejores condiciones. El circuito es de una documentación francesa de los años 80 y utiliza transistores bastante comunes en nuestro mercado e incluso equivalentes modernos como el BC558 y BC548.




