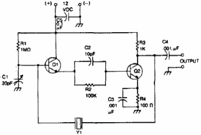
Este circuito se obtuvo de una documentación estadounidense de los 80. Los transistores pueden ser 2N2222 y las frecuencias pueden estar en el rango de 500 kHz a 10 MHz. Para frecuencias inferiores a 100 kHz, aumente C1 y C2.

Oscilador Aperiódico de Modo Paralelo



