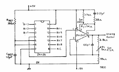
Este circuito fue encontrado en una antigua documentación estadounidense. Los componentes de la época no son comunes hoy en día. El circuito es solo de referencia.

Convertidor digital a analógico de 8 bits
Este circuito fue encontrado en una antigua documentación estadounidense. Los componentes de la época no son comunes hoy en día. El circuito es solo de referencia.
