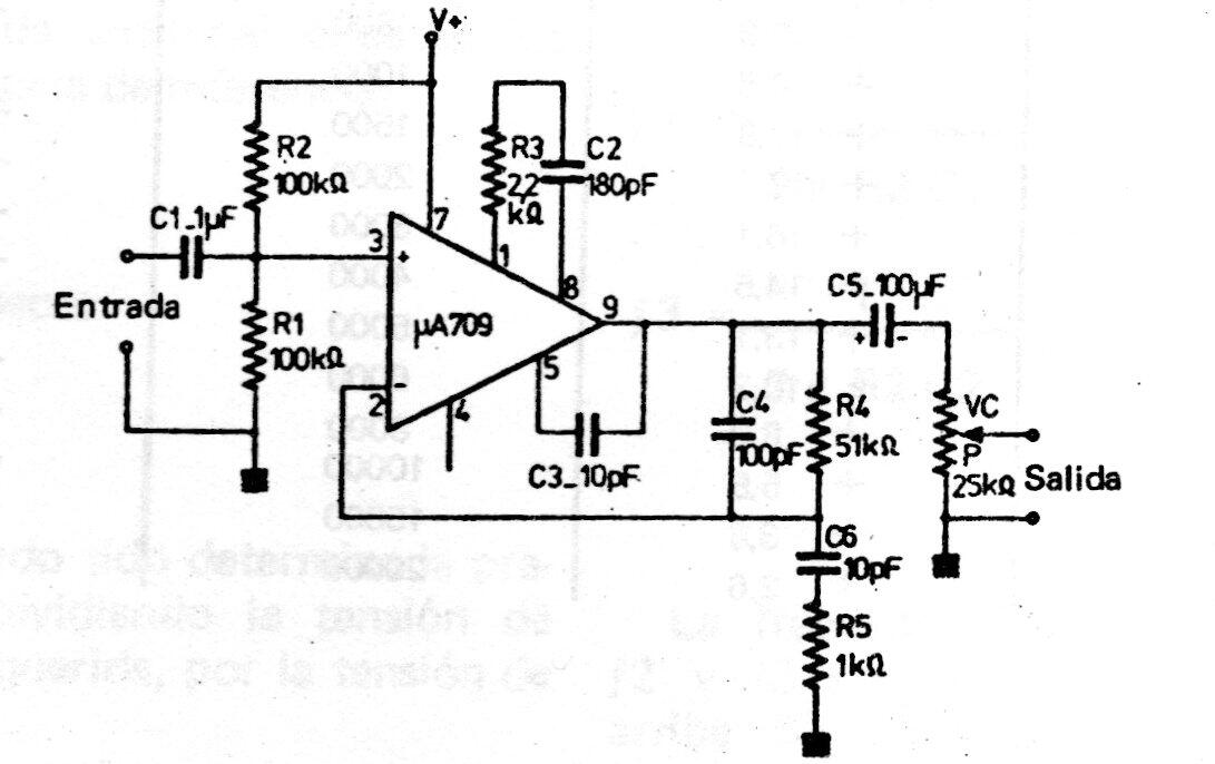
Este circuito es de un manual integrado lineal de los años 70. El circuito integrado utilizado es poco común en la actualidad y se muestra en uno de los canales de aplicación. La fuente no necesita ser simétrica. Podemos encontrar esta configuración en otro lugar de este sitio.

 

Preamplificador RIAA uA709
Preamplificador RIAA uA709 | Haga click en la imagen para ampliar |