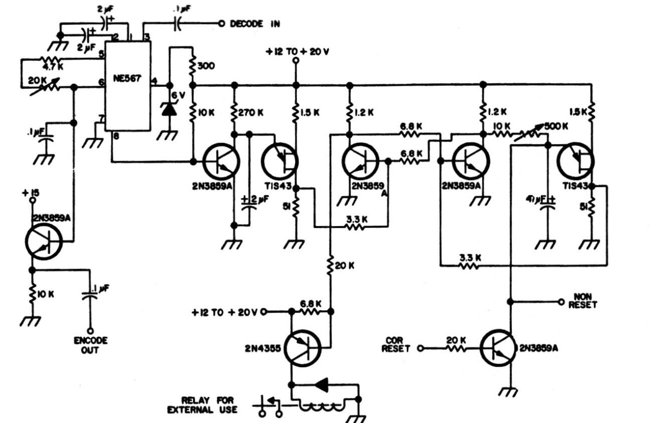
Este circuito bastante sofisticado no reconoce los tonos falsos, como los armónicos, y puede usarse en sistemas de control remoto. Los transistores permiten equivalentes y la tensión de alimentación debe estar estrictamente dentro del rango indicado. El circuito es de una vieja documentación estadounidense.




