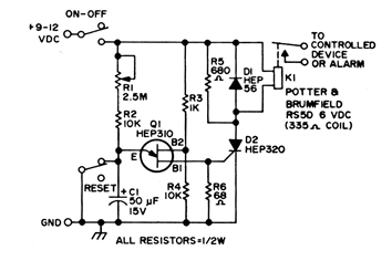
La sincronización de este temporizador que se encuentra en la documentación de EE. UU. depende del capacitor C1. Este componente se puede aumentar para tiempos más largos. El circuito está bloqueado debido al uso del relé, que puede ser de un tipo sensible de 12 V.

Temporizador de 2 segundos a algunos minutos



