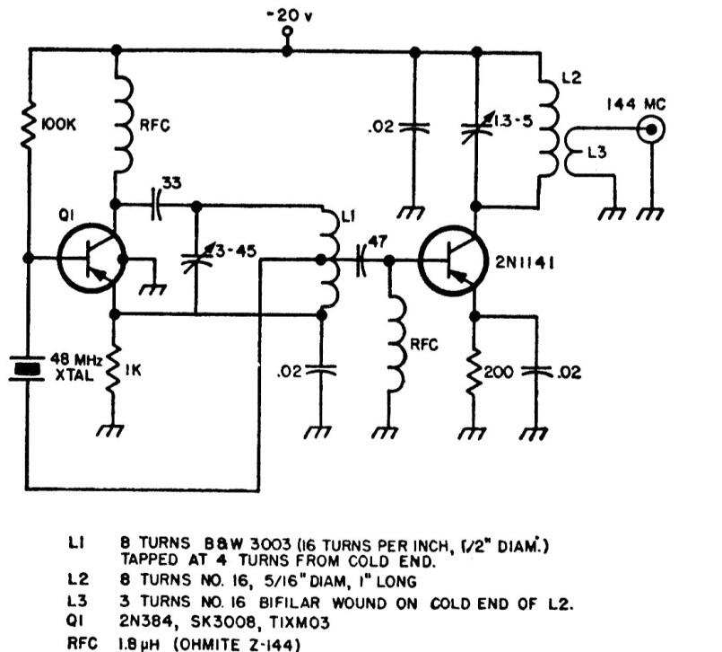
Este pequeño transmisor para el rango de 2 metros (144 MHz) es de una publicación estadounidense para amateurs. Junto al diagrama tenemos los datos de las bobinas. Los capacitores deben ser de cerámica.

 

Transmisor para el rango de 2 metros
Transmisor para el rango de 2 metros | Haga click en la imagen para ampliar |