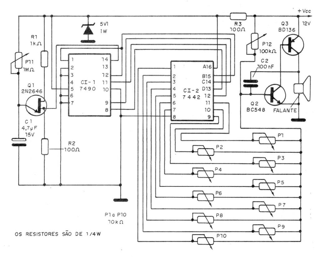
Este circuito experimental TTL es de una documentación de 1992. Produce sonidos programados sintonizados a los potenciómetros de 10k. Estos componentes controlan un oscilador con dos transistores cuya frecuencia básica depende del capacitor. El transistor unipolar genera la secuencia de accionamiento. La potencia debe suministrarse con 5 V.




