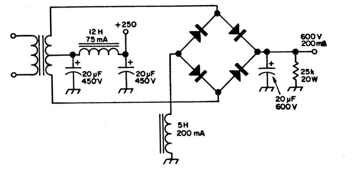
Este circuito proporciona dos altas tensiones para aplicaciones en circuitos de válvulas. Los diodos y el transformador determinan la corriente máxima que se puede obtener.

 

Fuente de alta tensión para válvulas
Fuente de alta tensión para válvulas | Haga click en la imagen para ampliar |