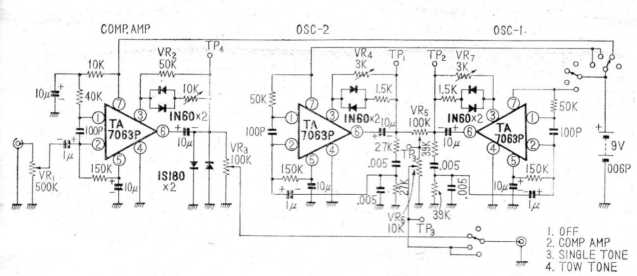
Este generador de señales encontrado en la documentación japonesa de 1973 utiliza un circuito integrado poco común en la actualidad. La potencia del circuito debe ser de 9 V de tensión de batería y la potencia del circuito es baja y es adecuada para las aplicaciones portátiles con batería en ese momento.




