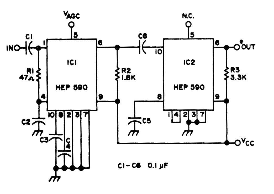
Este viejo amplificador de video de dos pasos utiliza circuitos integrados que hoy en día no se pueden obtener fácilmente. El circuito es para video analógico y se encontró en una documentación estadounidense de los años ochenta.

 

Amplificador de video
Amplificador de video | Haga click en la imagen para ampliar |