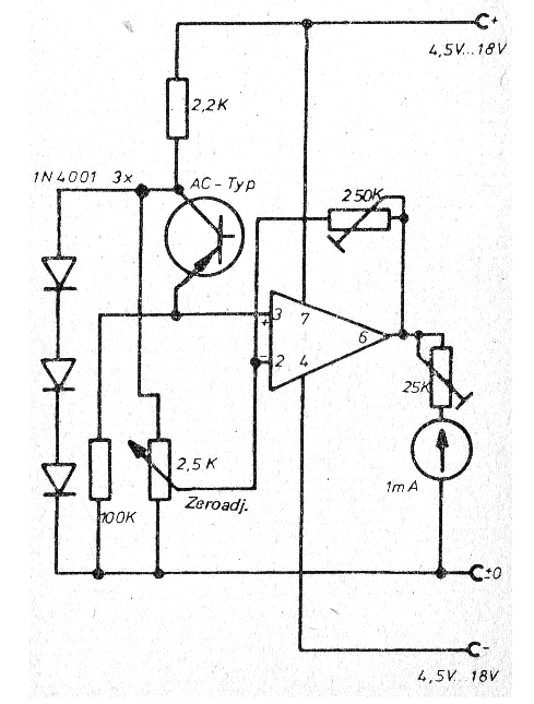
Este circuito se obtuvo en una publicación inglesa de 1975. Se trata de un termómetro en el que el sensor es un transistor. El circuito mide la corriente de fuga entre el colector y el emisor de un transistor PNP de germanio. La fuente de alimentación debe ser simétrica estabilizada y un multímetro común en la escala más baja de corriente se puede utilizar en lugar del instrumento original de 1 mA de fondo de escala.




