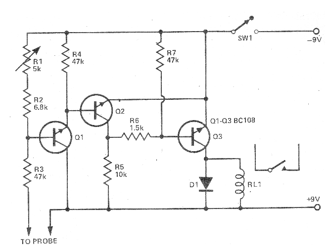
Este circuito fue encontrado en una revista inglesa de 1976. Los transistores pueden ser los BC548. El relé puede ser de 12 V si la alimentación se realiza con esta tensión. Los sensores son hilos pelados enterrados en el jardín. El ajuste de la sensibilidad se realiza en el trimpot. Observe la polaridad invertida para la alimentación. Nunca utilice fuente sin transformador para alimentar este circuito.




