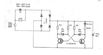
En la publicación original de los años 70, este simple circuito con transistores hace que dos LED parpadeen en una frecuencia dada por C1 y C2. El circuito es indicado como alarma psicológica pero también sirve como un indicador nocturno.

Parpadeante LED Para Red de Energía



