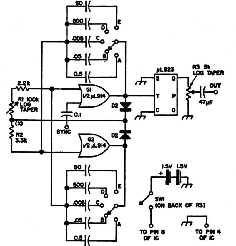
Este circuito es de una documentación antigua, pero puede ser implementado con lógica moderna. Los diodos son de uso general y la precisión depende de los capacitores.
Samuel Morse fue el inventor del telégrafo, que es un sistema eléctrico de comunicaciones, capaz de...
Este circuito puede ser interesante para generar señales de advertencia en paneles de máquinas u...
El Ronquido de 60 Hz (o 50 Hz) o ruido de la red de energía (hum, en inglés) es uno de los mayores...