Este circuito es de una antigua documentación americana. La frecuencia es dada por R1 y C1. R1 tiene valores que parten de 10k y la alimentación debe ser hecha con tensiones de 5 a 10 V.

Generador de Pulsos en Oposición de Fase 567
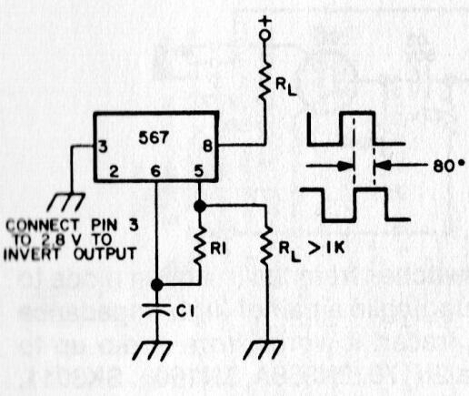
Este circuito es de una antigua documentación americana. La frecuencia es dada por R1 y C1. R1 tiene valores que parten de 10k y la alimentación debe ser hecha con tensiones de 5 a 10 V.
