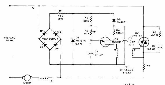
Este circuito para motor de inducción fue encontrado en el Circuit Applications for the Triac de Motorola de 1971. El Triac debe ser de acuerdo con el motor y los diodos del puente pueden ser los 1N4004. El transformador es del tipo de pulso con relación de espiras de 1 a 1.

Control de motor con retroalimentación usando Triac



