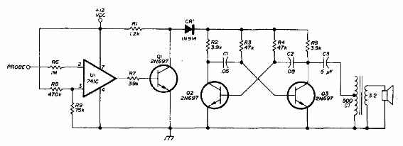
Encontramos este indicador de niveles lógicos en una documentación para radioaficionados de 1976. El circuito es alimentado con 12 V, sirviendo para pruebas en lógica TTL y CMOS. El transformador de salida es del tipo encontrado en radios transistorizados y los transistores pueden ser los BC548.

Probador Lógico Audible



