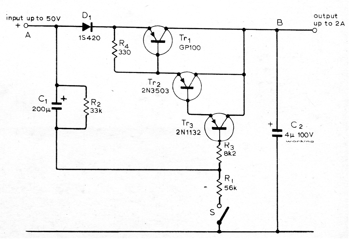
Este circuito fue obtenido en una revista de 1975, pero puede ser montado con facilidad aún, pues los componentes son comunes. TR1 puede ser el TIP42, TR2 el BD136 y TR3 el BC558, esto para corrientes hasta 2 A y tensiones de entrada hasta unos 25 V. Para tensiones mayores, se deben usar los transistores originales. El diodo puede ser el 1N5404.




