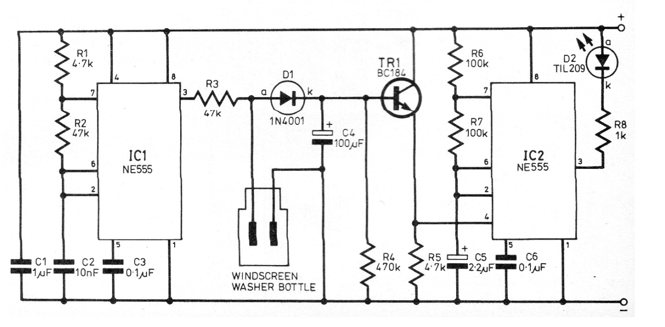
Este interesante circuito fue encontrado en una publicación inglesa de 1984, pero puede ser montado con facilidad, utilizando en lugar del transistor original un BC548. Se trata de un circuito que avisa cuando el depósito de agua del limpiador de parabrisas está vacío. La alimentación de 12 V viene del propio coche.




